
1、管路清潔要求:安裝前應徹底清洗管道,并在流量計前安裝過濾器(建議200 目以上濾網),以防止雜物進入流量計。安裝過程中,請務必避免污物雜質進入流量進口端, 注意接頭生料帶。
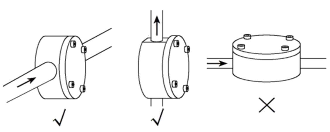
2、安裝方向要求:應注意必須把流量計的軸安成水平位置,即蓋子與水平面垂直。對于超微小流量的計量,最佳安裝是下進上出。
3、液體流向要求:流量計殼體上箭頭指向應與被安裝管道的液體流動方向一致。
4、旁路:連續(xù)流動的管道,安裝流量計的水平管道應裝有旁路閥,以便定時清洗、檢修在垂直管道上流量計,應裝在旁路管道中以防止雜物落入儀表內。
5、特殊液體安裝要求(易結晶和固化類液體)建議流量計前后管段足夠長,采取相應措施,避免流量計所在管段的液體結晶。
6、對于有回流的管路要求:請安裝止回閥,避免液體回流造成誤脈沖。如果管路不允許裝止回閥,建議選用帶流向識別功能流量計型號。
7、啟動或停止時,啟閉閥門應緩慢,防止突然沖擊。
8、為防止產生誤脈沖,應防止倒流。
9、如果是易結晶類液體,請采取措施,避免流量計所在管段的液體結晶。